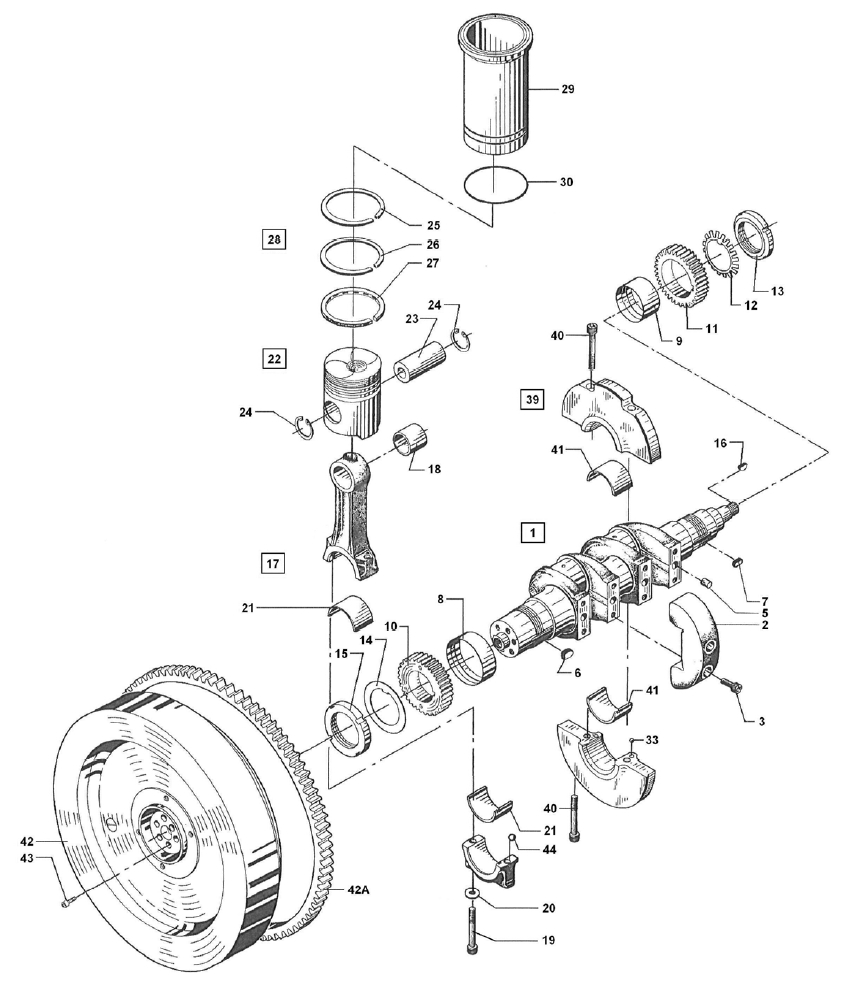
2. Crankshaft, bearings, connecting rod, piston and cylinder liner
End cover, rear and rotating weights
| Pos. | Part No. | Qty. | Description |
|---|---|---|---|
| 1 | 000E7866 | 1 | End cover, rear |
| 2 | 000D9197 | 1 | Gasket |
| 3 | 501A2363 | 5 | Unbraco screw, M8x20 DIN 912 |
| 4 | 501A2363 | 6 | Unbraco screw, M8x20 DIN 912 |
| 4 | 501A2365 | 4 | Unbraco screw, M8x25 DIN 912 |
| 5 | 522F7021 | 15 | Spring washer, 8 mm |
| 6 | 000E1095 | 8 | Bearing bush |
| 7 | 032D0102 | 4 | Rotating weight with bearing bush |
| 8 | 522A9016 | 4 | Seeger support washer |
| 9 | 522A1020 | 4 | Circlip 20 DIN 471 |
| 10 | 561B0356 | 1 | Seal ring – Gaco SM 35.50.7 |
| 12 | 560F0013 | 1 | O-ring |
| 13 | 560F0011 | 1 | O-ring |
| 14 | 000E3224 | 2 | Shaft for rotating weights, rear |
| 14A | 000E3223 | 2 | Shaft for rotating weights, front |
| 15 | 000E0789 | 2 | Distance ring |
| 17 | 000E0792 | 4 | Thrust washer |
| 18 | 501E2361 | 4 | Screw, countersunk |
| 21 | 504B0321 | 1 | Screw plug |
| 22 | 522C3027 | 1 | Gasket |
| 23 | 000E3225 | 4 | Thrust collar (nylon) |
| 24 | 000E3226 | 4 | Intermediate disc |
| 25 | 504A0317 | 3 | Screw plug |

